JTY-HM-GST102紅外對射光線感煙遙測器
JTY-HM-GST102紅外對射光束感煙探測器為非編碼型反射式線型紅外光束感炊火警探測器。探測器必須與反射器配套利用,但須要按照兩者間裝配間隔的差別決議利用一塊或四塊反射器。探測器首要具備以下特色:
(1)將發射部分、領受部分合二為一,裝配簡略、便利,光路準直性好;
(2)具備主動校準功效,確保能夠由單人在短時候內完成調試,操縱簡略、便利;
(3)具備自診斷功效,能夠監測探測器的外部毛病;
(4)具備主動彌補功效,對必然程度上的塵埃凈化、地位偏移及發射管的老化等導致領受旌旗燈號減小的身分可主動停止彌補;
(5)可現場設置三個級別的活絡度,合用于差別揚塵程度的場合;
(6)具備火警、毛病無源輸入觸點;
(7)探測光路設想奇妙,抗攪擾機能強;
(8)密封設想,具備防水機能;
(9)專利產物,專利號為ZL03358053.7。
首要手藝目標以下:
(1)電源電壓:DC15V~DC28V
(2)電源電流:
調試電流≤20mA
監督電流≤12mA
報警電流≤22mA
(3)活絡度品級
一級:1.3±0.3dB
二級: 1.7±0.3dB
三級: 2.3±0.3dB
(4)唆使燈:
調試狀況:綠色和黃色唆使燈以特定的體例點亮或閃亮
一般監督狀況:白色唆使燈周期性閃灼
火警狀況:白色唆使燈常亮,黃色唆使燈燃燒
毛病狀況:黃色唆使燈常亮
光路被全數遮擋:探測器先報毛病并點亮黃色唆使燈,20s后探測器再報火警,并點亮白色唆使燈,燃燒黃色唆使燈
(5)掩護面積:
探測器最大掩護面積為14×100=1400m2,最大寬度為14m
(6)利用環境:
溫度:-10°C~+50°C
絕對濕度≤95%,不結露
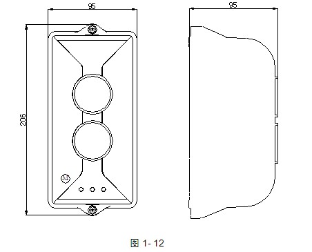
(7)形狀尺寸:
長度:206mm 寬度:95mm 厚度:95mm
JTY-HM-GST102紅外對射光束感煙探測器適合國度規范GB 14003-2005《線型光束感炊火警探測器》。
此產物已取得:國度消防電子產物品質監督查驗中間簽發的型式查驗報告。




三、海灣JTY-HM-GST102紅外對射光束感煙探測器格局(ju)特(te)征 、裝配線與步線
本監測(ce)器(qi)樣(yang)式形態(tai)表達出來(lai)圖(tu)如圖(tu)所(suo)示1-12:
將檢測(ce)器與反射強度器根本安裝工藝在擋拆辦公空間的一(yi)根且在一(yi)統(tong)成度直網上營銷(xiao),檢測(ce)器模(mo)樣安裝工藝寫出(chu)圖如1-13:
偵測器(qi)(qi)(qi)器(qi)(qi)(qi)容忍明(ming)裝(zhuang)(zhuang)零件(jian)(jian),零件(jian)(jian)體例有不同:穿線(xian)(xian)管(guan)預理和(he)穿線(xian)(xian)管(guan)明(ming)裝(zhuang)(zhuang)。當穿線(xian)(xian)管(guan)預理時,可將偵測器(qi)(qi)(qi)器(qi)(qi)(qi)底(di)殼(ke)(ke)零件(jian)(jian)在86H50型預理盒的右(you)下方;當穿線(xian)(xian)管(guan)明(ming)裝(zhuang)(zhuang)時,容忍安裝(zhuang)(zhuang)支架上零件(jian)(jian)體例,底(di)殼(ke)(ke)零件(jian)(jian)孔(kong)距及(ji)安裝(zhuang)(zhuang)支架上零件(jian)(jian)孔(kong)寸尺如下圖1-14如下。
當探測器與反射器間的裝配間隔大于即是8m(小于即是40m)時,需裝配1塊反射器;
當探測器與反射器間的裝配間隔大于40m(小于即是100m)時,需裝配4塊反射器。單塊反射器裝配需用兩只6塑料脹釘將其牢固,裝配尺寸如圖1-15所示,四塊反射器裝配時應擺放慎密,反射器之間不應留空地,裝配表示圖如圖1-16所示(圖未按比例)。

測探器(qi)(qi)需用(yong)與電(dian)(dian)流電(dian)(dian)源開關(guan)(guan)開關(guan)(guan)24V電(dian)(dian)源開關(guan)(guan)開關(guan)(guan)線(無(wu)及(ji)(ji)(ji)性(xing))及(ji)(ji)(ji)火警提醒控制器(qi)(qi)旌旗(qi)燈號串口通(tong)信(xin)(xin)(無(wu)及(ji)(ji)(ji)性(xing))毗連,電(dian)(dian)流電(dian)(dian)源開關(guan)(guan)開關(guan)(guan)24V電(dian)(dian)源開關(guan)(guan)開關(guan)(guan)線接(jie)(jie)(jie)(jie)測探器(qi)(qi)的接(jie)(jie)(jie)(jie)法(fa)(fa)接(jie)(jie)(jie)(jie)法(fa)(fa)鼻(bi)(bi)(bi)子(zi)(zi)D1、D2接(jie)(jie)(jie)(jie)法(fa)(fa)鼻(bi)(bi)(bi)子(zi)(zi)上,串口通(tong)信(xin)(xin)接(jie)(jie)(jie)(jie)測探器(qi)(qi)的接(jie)(jie)(jie)(jie)法(fa)(fa)接(jie)(jie)(jie)(jie)法(fa)(fa)鼻(bi)(bi)(bi)子(zi)(zi)Z1、Z2上,反射性(xing)器(qi)(qi)不需接(jie)(jie)(jie)(jie)法(fa)(fa)。接(jie)(jie)(jie)(jie)法(fa)(fa)接(jie)(jie)(jie)(jie)法(fa)(fa)鼻(bi)(bi)(bi)子(zi)(zi)指出(chu)圖長為1-17。

布線請求:旌旗燈號總線Z1、Z2接納阻燃RVS型雙絞線,截面積≥1.0mm2;電源線D1、D2接納阻燃BV線,截面積≥1.5mm2。
智淼君安(廣東)消防火災工程項目傳統手工藝無限的廠家//cqlimei.cn/
海灣消防公司主營:海灣消防報警體系發賣,消防裝備裝配,海灣氣體滅火、海灣電氣火警、消防水噴淋體系施工裝配,售后維修,海灣消防網站://cqlimei.cn/;海灣消防辦事熱線:4006-598-119



