
一、海灣GST-TS-100A消防德律風分機概述
GST-TS-100A總線制牢固式消防德律風分機是為消防公用而設想開辟的總線制通信裝備,經由過程它可敏捷完成對火警的野生確認,并可實時把握火警現場環境及停止別的須要的通信聯系,便于批示滅火及規復任務。
二、海灣GST-TS-100A消防德律風分機特色
GST-TS-100A型消防德律風分機是消防公用總線制通信裝備,GST-TS-100A型消防德律風分機為牢固式裝配,摘機即呼喚德律風主機。
三、海灣GST-TS-100A消防德律風分機手藝特點
| 任務電壓 | DC24V,許可規模:DC20V~DC28V |
| 任務電流 | 通話時電流約為25mA |
| 線制 | 無極性二總線制 |
| 利用環境 | 溫濕度:-10℃~+50℃ 可以說水分子含量:≤95%,不凝露 |
| 形狀尺寸 | 206mm×56mm×51.5mm |
| 履行規范 | Q/GST28-2005 |
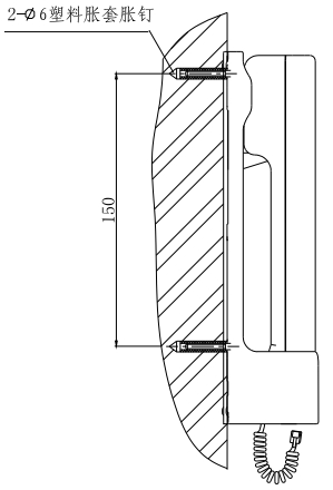
四、海灣GST-TS-100A消防德律風分機布局特點與裝配
GST-TS-100A 型消防德律風分機、GST-TS-100B 型消防德律風分機形狀尺寸及布局表示圖別離如圖。



智淼君安(遼寧)消防員水利工程技藝不限平臺//cqlimei.cn/
海灣消防公司主營:海灣消防報警體系發賣,消防裝備裝配,海灣氣體滅火、海灣電氣火警、消防水噴淋體系施工裝配,售后維修,海灣消防網站://cqlimei.cn/;海灣消防辦事熱線:4006-598-119







